openPR Recherche & Suche
Presseinformation

Maßgeschneiderte Tiefbohrmaschine

20.10.201608:48 UhrIndustrie, Bau & Immobilien
Bild: Maßgeschneiderte Tiefbohrmaschine
TEMA-Fischer GmbH bestellte die zweispindlige ML250 von TBT mit automatischer Teilezuführung.
TEMA-Fischer GmbH bestellte die zweispindlige ML250 von TBT mit automatischer Teilezuführung.

(openPR) TBT modifiziert Maschinenstandard für die Bearbeitung von Getriebewellen

Um Getriebewellen komplett zu bearbeiten, hat die TEMA-Fischer GmbH in Berlin-Rudow auch das Tieflochbohren im Portfolio. Als das Auftragsvolumen zunahm, war schnell klar: die vorhandene Tiefbohrmaschine braucht Verstärkung. Das Unterneh-men schaute sich auf dem Markt um und wurde schließlich bei TBT fündig. Die Experten aus dem schwäbischen Dettingen/Erms lieferten die Wunschmaschine in Rekordzeit.



Als Zulieferbetrieb für die Automobilindustrie, den allgemeinen Maschinenbau oder Unter-nehmen der Bahntechnik hat die TEMA-Fischer GmbH einen hohen Anspruch an sich selbst: Teile komplett zu bearbeiten und in höchster, einbaufertiger Qualität zu liefern. Ent-sprechend umfangreich ist die mechanische Fertigung mit modernsten Werkzeugmaschinen ausgestattet. Hinzu kommen mehrere Messmaschinen. Das Qualitätsmanagement erfüllt die ISO/TS 16949:2009.

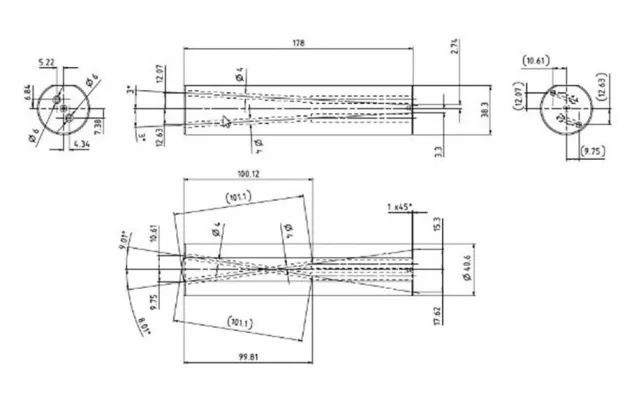
Bei der Bearbeitung von Getriebewellen für PKW aus dem Werkstoff 42CrMo4 kommen beispielsweise auch Einlippenbohrer zum Einsatz. Es gibt mehrere Wellenvarianten mit Sacklochbohrungen bis 470 mm Tiefe und Durchmessern von 15 bis 25 mm. Die Wellen selbst sind bis zu 555 mm lang. Als die Stückzahlen in der zweiten Jahreshälfte 2013 zunahmen, war die vorhandene Tiefbohrmaschine schnell an der Kapazitätsgrenze angekommen. TEMA-Fischer musste handeln. „Auf der Suche nach einer weiteren Maschine kam auch der Kontakt zu TBT zustande“, meint Geschäftsführer Jan Marten Scholz. „Die Erfahrungen und Referenzen überzeugten uns. TBT liefert nicht nur von der Stange, das ist ein wichtiger Aspekt für uns.“

Lieferzeit wie Standardmaschine
Denn auch in diesem Fall gab es besondere Anforderungen. So benutzt der Berliner Zerspanungsbetrieb ein auf die Wellen zugeschnittenes Spannfutter aus der eigenen Entwicklung, dieses war in die neue Maschine zu integrieren. „Unsere Konstrukteure überarbeiteten die am besten passende Standardmaschine, eine ML250-2-850. Zunächst vergrößerten sie die Bohrschlittenlänge von 50 auf 150 mm, um die Wellen inklusive Spezialfutter aufnehmen zu können“, erklärt Panagiotis Zafiridis, Sales Manager bei TBT. Die ML250 ist grundsätzlich mit einer, zwei oder vier Spindeln verfügbar. Der Anwender entschied sich für zwei Spindeln. „Im Standard ist nur die Einspindelausführung auf 25 mm Bohrungsdurch-messer ausgelegt, wie vom Anwender gefordert. Weitere wichtige Modifikationen waren daher größere Spindeln und stärkere Antriebe“, so Zafiridis weiter. Der Lösungsvorschlag gefiel den Verantwortlichen bei der TEMA-Fischer GmbH. Ende Januar 2014 erging der Auftrag an TBT, und zwar komplett mit einer automatischen Be- und Entladevorrichtung nach einem Standard-Design. Um das Spannfutter in das Maschinenkonzept zu integrieren, arbeiteten beide Unternehmen in der Folge eng zusammen.

Für den Besteller einer Maschine mit Sonderausstattung stellt sich immer die Frage, ob es am Ende Probleme mit der Lieferzeit gibt. Sonderwünsche sind häufig ein zeitliches Risiko. Nicht in diesem Fall, die Tiefbohrexperten arbeiteten auf Hochtouren. Die Auslieferung erfolgte ohne Verzögerung, nämlich Ende Juli, nach sechs Monaten. „Diese Frist liegt sogar knapp unter der Lieferzeit für eine Standardmaschine“, betont Panagiotis Zafiridis.

Aber wie bekam der Zulieferer in der Zwischenzeit die gestiegenen Stückzahlen in den Griff? „Ein wichtiger Aspekt in unserer Entscheidungsfindung war, dass TBT auch über eine eigene Lohnfertigung mit den entsprechenden Maschinenkapazitäten verfügt, um die Kunden bei Engpässen zu unterstützen“, meint Jan Marten Scholz. Doch der Dettinger Maschinenhersteller ging noch einen Schritt weiter und lieferte eine Übergangsmaschine nach Berlin. Wenn auch schon etwas älter und nur mit einer Spindel ausgestattet, die Auftrags-spitzen konnten während der sechs Monate termingerecht abgearbeitet werden.

Produktivität geht nach oben
Als dann Mitte Juli die modifizierte und auf dem Stand der Technik befindliche ML250 die Arbeit aufnahm, ging die Produktivität merklich nach oben. TEMA-Fischer nennt Produktivitätssteigerungen von „15 bis 20 Prozent“. Die Zerspanungsspezialisten in Berlin-Rudow konnten den garantierten Vorschub sogar noch erhöhen. Alles in allem fügte sich die neue Maschine perfekt ins bestehende Produktionsgefüge ein. Das Nadelöhr für den Gesamtprozess „Getriebewellen“ ist aktuell jedenfalls nicht das Tieflochbohren, sondern eine Folgeoperation.

„Wir ziehen eine positive Bilanz“, bekräftigt Dieter Scholz. „Unsere ML250 erfüllt alle vorgegebenen Forderungen. Dass die Maschine trotz Sonderausstattung pünktlich geliefert wur-de und wir in der Zwischenzeit auf eine Übergangsmaschine zurückgreifen konnten, hat uns in der aktuellen Auftragslage sehr geholfen.“ Derartige Projekte ließen sich mit mittelständischen Werkzeugmaschinenherstellern hierzulande gut abwickeln, meint der Ge-schäftsführer weiter. Was wäre die Alternative? Fernostkonzerne produzieren ihre Werk-zeugmaschinen in großen Stückzahlen. Der Invest reduziert sich zwar, aber wie sieht es mit der Flexibilität aus? Klar ist: Liegt eine Liste mit Sondermerkmalen vor, ist es enorm wichtig, dass die Kommunikation funktioniert, mehr noch, dass sie auf einer Wellenlänge stattfindet. Und das war zwischen den Berlinern und Schwaben eindeutig der Fall.

Panagiotis Zafiridis, Sales Manager bei der TBT Tiefbohrtechnik GmbH + Co, Dettingen/Erms, www.tbt.de, PR-Agentur www.pressco.de

Diese Pressemeldung wurde auf openPR veröffentlicht.

Verantwortlich für diese Pressemeldung:

News-ID: 923631
 1264

Kostenlose Online PR für alle

Jetzt Ihren Pressetext mit einem Klick auf openPR veröffentlichen

Jetzt gratis starten

Pressebericht „Maßgeschneiderte Tiefbohrmaschine“ bearbeiten oder mit dem "Super-PR-Sparpaket" stark hervorheben, zielgerichtet an Journalisten & Top50 Online-Portale verbreiten:

PM löschen PM ändern
Disclaimer: Für den obigen Pressetext inkl. etwaiger Bilder/ Videos ist ausschließlich der im Text angegebene Kontakt verantwortlich. Der Webseitenanbieter distanziert sich ausdrücklich von den Inhalten Dritter und macht sich diese nicht zu eigen. Wenn Sie die obigen Informationen redaktionell nutzen möchten, so wenden Sie sich bitte an den obigen Pressekontakt. Bei einer Veröffentlichung bitten wir um ein Belegexemplar oder Quellenennung der URL.

Pressemitteilungen KOSTENLOS veröffentlichen und verbreiten mit openPR

Stellen Sie Ihre Medienmitteilung jetzt hier ein!

Jetzt gratis starten

Weitere Mitteilungen von PR-Agentur PressCo.

Bild: Gehring bringt Dekra-zertifizierte partikelfilternde Halbmasken (FFP2) „Made in Germany“ auf den MarktBild: Gehring bringt Dekra-zertifizierte partikelfilternde Halbmasken (FFP2) „Made in Germany“ auf den Markt
Gehring bringt Dekra-zertifizierte partikelfilternde Halbmasken (FFP2) „Made in Germany“ auf den Markt
_Schutzmasken ergänzen Geschäftsfeld im Spezialmaschinenbau _ Was gibt Schutz in der aktuellen Pandemie? Wissenschaft, Politik aber auch Verantwortliche in Pflegeeinrichtungen und Unternehmen sind sich einig, dass insbesondere die zertifizierte partikelfilternde Halbmaske (FFP2) das gewährleistet. Der Grund: Sie bietet ihren Trägern wie auch ihrer Umwelt eine hohe Schutzwirkung, da sie aufgrund des genutzten Vliesmaterials 96 Prozent der Aerosole (winzige Feuchtigkeitspartikel in der Luft) herausfiltert. In Bayern besteht deshalb seit Montag…
Bild: Superfinish-Maschinen made in GermanyBild: Superfinish-Maschinen made in Germany
Superfinish-Maschinen made in Germany
Nagel begegnet Superfinish-Trend mit kostengünstiger Maschinenplattform NaCen Die Nagel Maschinen- und Werkzeugfabrik ist vor allem als Ansprechpartner für das Honen bekannt. Zum Portfolio der Nürtinger Oberflächenspezialisten zählt aber auch das Superfinishen. Für die Anwender dieser Technologie, die unter einem besonderen Kostendruck stehen, hat Nagel die neue kostengünstige Maschinenplattform „NaCen“ entwickelt. Im Automobilbau ist das Superfinishen längst nicht mehr wegzudenken. Die Fahrzeughersteller drehen an jeder noch so kleinen Ste…

Das könnte Sie auch interessieren:

Bild: Was ist maßgeschneiderte Software und warum sollten Sie sich für eine maßgeschneiderte Software entscheiden?Bild: Was ist maßgeschneiderte Software und warum sollten Sie sich für eine maßgeschneiderte Software entscheiden?
Was ist maßgeschneiderte Software und warum sollten Sie sich für eine maßgeschneiderte Software entscheiden?
Maßgeschneiderte Software wird als Software bezeichnet, die auf die Bedürfnisse und Wünsche der Unternehmensmarke und ihrer Stakeholder (bspw. Kunden) ausgerichtet ist. Es ist ein wachsender Trend in der digitalen Welt. Im Zuge des technologischen Fortschritts und der Weiterentwicklung der Anwender wird maßgeschneiderte Software als eine Notwendigkeit …
Bild: Alle Tiefbohrtechnologien auf einer MaschineBild: Alle Tiefbohrtechnologien auf einer Maschine
Alle Tiefbohrtechnologien auf einer Maschine
TBT entwickelt Standard-Tiefbohrmaschine für Einlippen- und STS-Bohrwerkzeuge Für die klassischen Tiefbohrverfahren mit Einlippen- und STS-Bohrwerkzeugen sind in der Regel verschiedene Maschinen notwendig. TBT Tiefbohrtechnik in Dettin-gen/Erms entwickelte nun erstmals eine Standard-Tiefbohrmaschine für beide Tech-nologien. Der Durchmesserbereich erweitert …
FinTech-Kredit: Per Mausklick aus 220 Finanzdienstleistern und Banken auswählen!
FinTech-Kredit: Per Mausklick aus 220 Finanzdienstleistern und Banken auswählen!
… suchen für die Finanzierung eine Lösung nach Maß. Anders als bei der Hausbank, sind mit den neuen Entwicklungen in der Finanztechnologie (FinTech) maßgeschneiderte Finanzierungsangebote möglich, d.h. auf die individuellen Bedürfnisse des Kunden ausgerichtete Angebote. Im Kreditgeschäft sind maßgeschneiderte Angebote immer zum Vorteil des Kunden, denn …
KMU-Tipp: Mit COMPEON aus 220 Finanzinstituten auswählen und 30% Zinsen sparen!
KMU-Tipp: Mit COMPEON aus 220 Finanzinstituten auswählen und 30% Zinsen sparen!
… innovativen Geschäftsmodellen wirbeln FinTech-Unternehmen die klassische Finanz- und Bankenwelt gehörig auf. Im Gegensatz zur Hausbank sind mit den neuen FinTech-Entwicklungen maßgeschneiderte Finanzierungsangebote möglich, d.h. auf die individuellen Bedürfnisse des Kunden ausgerichtete Angebote. Im Kreditgeschäft sind maßgeschneiderte Angebote immer zum …
Bild: TBT: Die Kunst, konzentrisch zu bohrenBild: TBT: Die Kunst, konzentrisch zu bohren
TBT: Die Kunst, konzentrisch zu bohren
… Entwicklungspartner für die chinesische Fahrzeugindustrie, entschied sich bei der Bearbeitung eines Injektors für einen Verbrennungsmotor für diese Methode. Er bohrte auf einer Standard-Tiefbohrmaschine von jeweils einer Seite, wobei er das Werkstück drehen musste. Er blieb damit jedoch weit unter den Qualitätsanforderungen seines Auftraggebers. Der Injektor ist …
Bild: Werkzeugschäfte mit Innenkühlung – eine anspruchsvolle BohraufgabeBild: Werkzeugschäfte mit Innenkühlung – eine anspruchsvolle Bohraufgabe
Werkzeugschäfte mit Innenkühlung – eine anspruchsvolle Bohraufgabe
TBT entwickelt Sondervorrichtung für Standardtiefbohrmaschine mit vier Freiheitsgraden Zerspanungswerkzeuge arbeiten zunehmend mit Innenkühlung. Die Herstellung der Werkzeugschäfte wird damit zu einer Herausforderung, denn es sind tiefe Kühlkanäle mit verhältnismäßig kleinen Durchmessern zu bohren. Für manche Varianten sehen die Werkzeugkonstrukteure …
Bild: TBT: Tiefbohren inklusive BW220 - Multitalent für die 4-Seiten-BearbeitungBild: TBT: Tiefbohren inklusive BW220 - Multitalent für die 4-Seiten-Bearbeitung
TBT: Tiefbohren inklusive BW220 - Multitalent für die 4-Seiten-Bearbeitung
… Formenbau. Tiefbohren, Fräsen und Gewinden kommen im Werkzeug- und Formenbau ständig bei der 4-Seiten-Bearbeitung an einem Werkstück vor. Oft wird dafür neben einer Tiefbohrmaschine zusätzlich ein Bearbeitungszentrum benötigt. Doch es gibt auch Anlagen, die alle drei Bearbeitungsarten vereinen. TBT Tiefbohrtechnik verfolgt dieses Konzept schon seit längerem, …
Bild: Maßgeschneiderte Roben - eine lohnende InvestitionBild: Maßgeschneiderte Roben - eine lohnende Investition
Maßgeschneiderte Roben - eine lohnende Investition
… oft zu wünschen übrig, das Material ist manchmal billig, die Nähte sind nicht immer gut verarbeitet. Ganz anders sieht das bei den maßgeschneiderten Roben aus. Diese Roben sind nicht gerade preiswert, doch ist eine maßgeschneiderte Staatsanwaltsrobe oder Anwaltsrobe ihr Geld wert. (http://www.gewandmeisterei.de) Für maßgeschneiderte Staatsanwaltsroben …
Bild: Tiefbohren im LohnauftragBild: Tiefbohren im Lohnauftrag
Tiefbohren im Lohnauftrag
… bieten zwar viele Optionen, kommen aber bei Bohrtiefen ab 30xD schnell an ihre Grenzen. Folglich ist für viele Anwendungen nach wie vor eine Tiefbohrmaschine notwendig. Wer die Anschaffung scheut, oder einfach auf Nummer sicher gehen möchte, findet Unterstützung beim Spezialisten. Lohnfertigungsbetriebe für Fräs-, Dreh- und herkömmliche Bohrarbeiten …
So geht Firmenkredit heute: Per Mausklick aus 220 Finanzdienstleistern und Banken auswählen!
So geht Firmenkredit heute: Per Mausklick aus 220 Finanzdienstleistern und Banken auswählen!
… online und suchen für die Finanzierung eine Lösung nach Maß. Im Gegensatz zur Hausbank sind mit den neuen Entwicklungen in der Finanztechnologie (FinTech) maßgeschneiderte Finanzierungsangebote möglich, d.h. auf die individuellen Bedürfnisse des Kunden ausgerichtete Angebote. Im Kreditgeschäft sind maßgeschneiderte Angebote immer zum Vorteil des Kunden, …
Sie lesen gerade: Maßgeschneiderte Tiefbohrmaschine