(openPR) TBT entwickelt Sondervorrichtung für Standardtiefbohrmaschine mit vier
Freiheitsgraden
Zerspanungswerkzeuge arbeiten zunehmend mit Innenkühlung. Die Herstellung der Werkzeugschäfte wird damit zu einer Herausforderung, denn es sind tiefe Kühlkanäle mit verhältnismäßig kleinen Durchmessern zu bohren. Für manche Varianten sehen die Werkzeugkonstrukteure sogar schräge Bohrungen vor. TBT Tiefbohrtechnik in Det-tingen/Erms konzipierte für diese Aufgabe eine Sondervorrichtung für das Bohren mit Einlippenbohrern.
Ginge es nur darum, zentrische Kühlkanäle zu bohren, wäre dies eine einfache, kaum nennenswerte Aufgabe. Aber Werkzeugschäfte sind heute komplizierte Werkstücke, der Kühlschmierstoff soll optimal an die Schneiden der Bohrer oder Fräser geführt werden, dafür reicht eine zentrische Kühlbohrung nicht aus. Ein Hersteller solcher Schäfte sah sich daher mit steigenden Anforderungen konfrontiert. Er hatte mehrere Varianten zu fertigen mit unterschiedlichen Schaftlängen und -durchmessern, auch Ausführungen mit exzentrischen Bohrungen, teilweise auch schräg zur Werkstückmit-telachse verlaufend und in unterschiedlichem Abstand zur Mittelachse. Die Durchmesser der Kühlbohrungen variieren je nach Werkzeug, für das sie bestimmt sind, meistens bewegen sie sich im Bereich von 1,5 bis 6 mm. Damit ergeben sich große Längen-Durchmesser-Verhältnisse. Die Tiefbohrtechnologie mit Einlippenbohrern eignet sich am besten hierfür, denn Einlippenbohrer sind bezüglich Verlauf herkömmlichen Wendelbohrern überlegen und häufig die prozesssicheren Bohrwerkzeuge.
Da der Hersteller der Werkzeugschäfte bereits mit mehreren Tiefbohrmaschinen des Typs ML200 von TBT Tiefbohrtechnik in Dettingen/Erms in seiner Fertigung bohrte, wollte er die neuen Werkstücktvarianten ebenfalls auf dieser Maschinenbasis bearbeiten. Die Maschine ist bestens für die Anwendung Werkzeugschäfte ausgelegt. TBT liefert sie mit einer oder mehreren Spindeln, entsprechend für Bohrdurchmesser von 0,8 bis 12 mm. Damit ist auch noch Luft nach unten und oben vorhanden, falls die Durchmesserspanne 1,5 bis 6 mm nicht ausreichen sollte. Das Dettinger Unternehmen ist aber nicht nur Maschinenhersteller, sondern ebenso Ansprechpartner für alle Fragen rund um das Tiefbohren. Das gilt beispielsweise auch für Vorrichtungen. Folglich fragte der Hersteller der Werkzeugschäfte bei TBT eine entsprechende Lösung an, anpassbar an die neuen, unterschiedlichen Werkstückausführungen und exakt passend zur vorgesehenen ML200 in Zweispindelausführung.
Vorrichtungen zu konstruieren, gehören für die Spezialisten in Dettingen zum Alltagsgeschäft. Doch diese Aufgabe war eine der kniffligeren, weil es um eine hochflexible Lösung ging. Im Detail: Die Bohrvorrichtung musste vier Freiheitsgrade bieten, nämlich eine 360-Grad-Drehung des Werkstücks um die Mittelachse, eine Höhenverstellung, eine Querverstellung und eine Winkelverstellung für die schrägen Bohrungen in der Horizontalen. Quer- und Winkelverstellung durften synchron für beide Spindeln erfolgen, die Drehung und Höhenverstellung für beide Werkstücke musste jedoch für jede Spindel getrennt eingestellt werden können. Andreas Schlegel, Sales Manager bei TBT: „Unser Anspruch ist es, komplette und zu hundert Prozent funktionierende Lösungen zu liefern, bestehend aus Tiefbohrmaschine, Bohrwerkzeugen und sämtlichen weiteren Anlagenteilen. Das können neben Vorrichtungen auch Komponenten für eine automatisierte Fertigung sein. In diesem Fall schied der Kunde eine automatisierte Lösung aus Kostengründen aus und beauftragte uns mit einer manuellen Vorrichtung.“
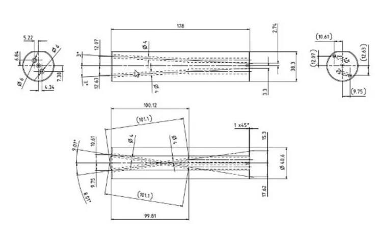
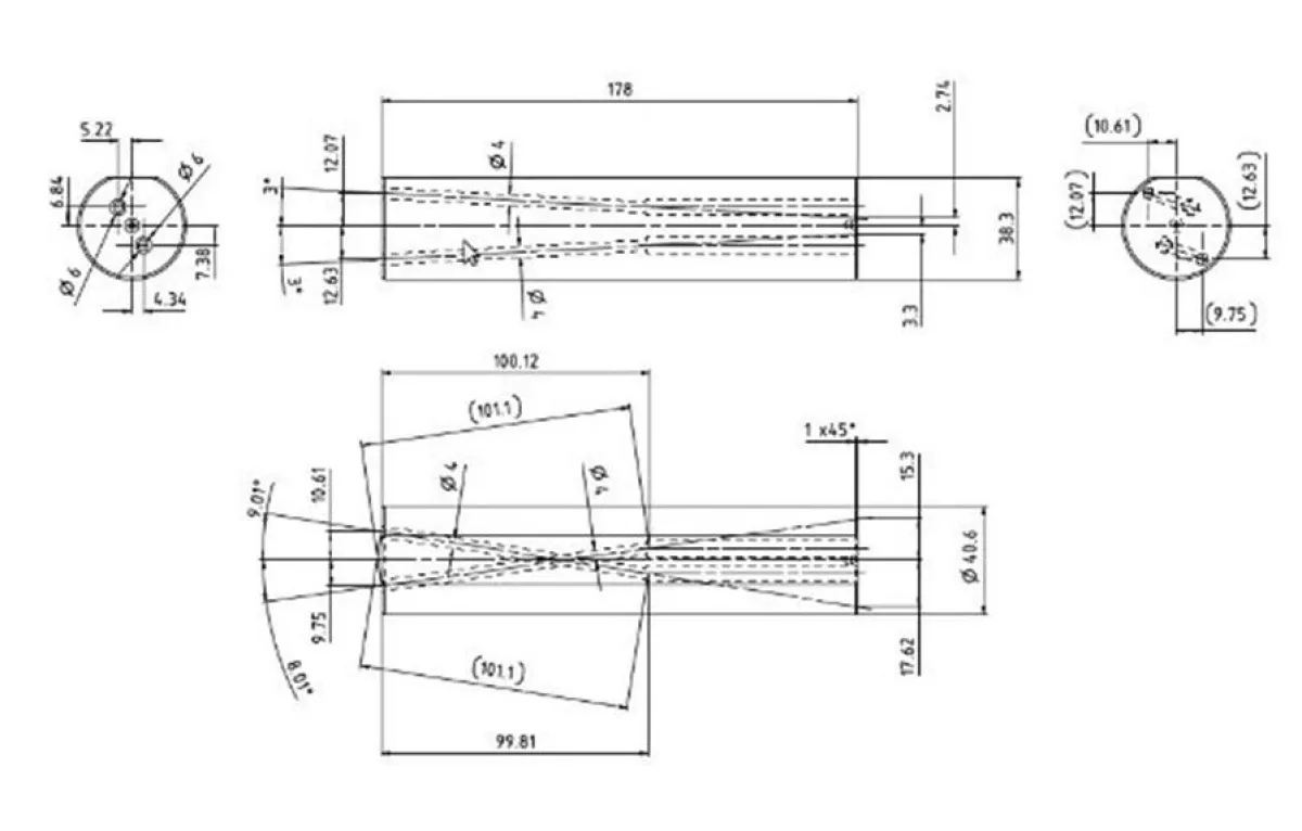
Nicht selten sind die Durchmesser der Kühlmittelbohrungen in einem Werkzeugschaft unterschiedlich (s. Abb.: d1, d2). Der Anwender spannt sein Werkstück um und bohrt von beiden Seiten. Ein Anschlag sorgt für die genaue Positionierung. Eine Klemmschraube fixiert die zylindrischen Schäfte, die dafür über eine Anfräsung verfügen. Bei der gezeigten Variante verläuft eine Bohrung mit d1 schräg und außermittig. Etwa in Werkstückmitte trifft sie eine ebenfalls exzentrisch zur Mittelachse liegende, aber parallel zur Achse verlaufende Bohrung mit d2. Die Schwierigkeit dabei: die schräge d1-Bohrung muss die d2-Bohrung genau treffen, da es sonst zu einer unzulässigen Querschnittsverengung kommen könnte.
Aufgrund der teils stark variierenden Bohrtiefen bedingt durch die verschiedenen Werkstückvarianten verwendet der Anwender den Bohrbuchsenträger in zweifacher Weise: Für Tiefen bis ca. 200 mm kommen Tauchhülsen, welche mittels Federn die Bohrbuchse ans Werkstück anlegen, zum Einsatz. Für tiefere Bohrungen demontiert der Bediener die Tauchhülsen und verwendet ein Dichtgehäuse. In diesem Falle hat er auch die Möglichkeit, eine Lünette zur Abstützung der Tiefbohrwerkzeuge zu installieren.
Alles in allem ein Beispiel für die hohe Kunst des Vorrichtungsbaus. „Unsere Lösung enthält eine Menge ausgetüftelter Details“, meint Andreas Schlegel. „Alle Auslenkungen sind mittels Skalen oder auch Digitalanzeige einfach und ausreichend genau justierbar.“ Da bei langen Werkstücken schon eine kleine Winkelauslenkung einen großen Querversatz bewirkt, war der verfügbare Platz in der ML200 zunächst ein heißes Diskussionsthema. Aber den Konstrukteuren ist es gelungen, alle Anforderungen, Qualität und den verfügbaren Raum, unter einen Hut zu bringen. Der Anwender braucht nicht in eine größere Maschine zu investieren – das war eines seiner Hauptanliegen. „Bei allen Bohrprozessen lässt sich die serienmäßige Schutzhaube noch schließen“, setzt Andreas Schlegel schmunzelnd hinzu.













