(openPR) Die Sorge um das Wohl seines kleinen Sohnes hat einen IT-Fachmann zum Erfinder werden lassen. Viele Eltern werden ihm dankbar sein.
Wenn es nach Ansicht vieler Kinderärzte ginge sollten Lauflernhilfen, auch Babywalker genannt überhaupt verboten werden. Zu hoch sind die Risiken für die Gesundheit der Kleinkinder. Die Realität zeigt, dass noch immer viele Eltern auf die praktische Hilfe zurückgreifen.
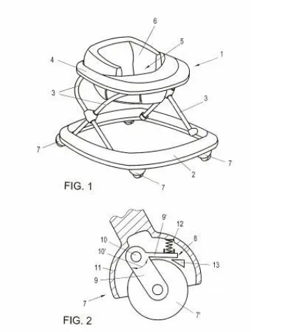
So auch der Projektmanager Günter Scheibstock. Nur dass er sich eben der Gefahren der herkömmlichen Lauflernhilfe bewusst war und seinen kleinen Sohn dieser Gefahr nicht aussetzen wollte. „Erstens gehen die Kinder in Lauflernhilfen nicht, sondern sie stoßen sich ab, was den Haltungsapparat des Kindes stört, und zweitens erreichen sie damit unnatürlich hohe Geschwindigkeiten, welche schon oft zu Unfällen und in einigen Fällen zum Tod geführt hat.“ So der Erfinder, “Ich war erschüttert als ich las, dass in den USA 14.000 Kinder jährlich ins Krankenhaus müssen und seit 1973 sogar 34 wegen dieser harmlos wirkenden Vehikel gestorben sind.“
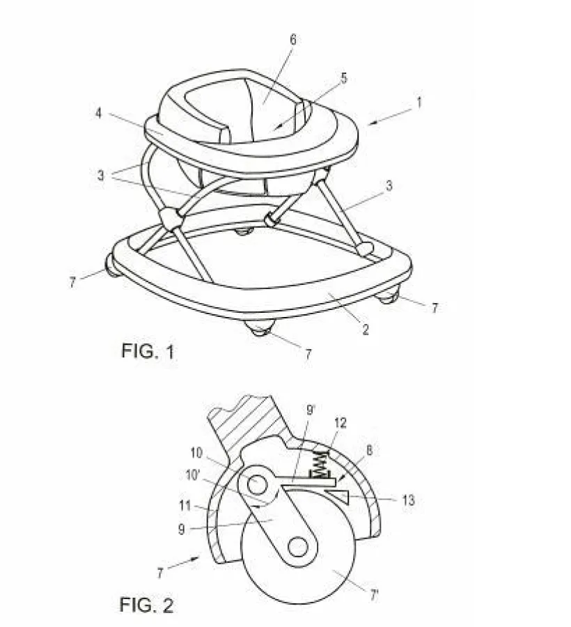
Als das Problem erkannt war, war die Lösung nicht mehr weit. Eine optimale Lauflernhilfe sollte nach Scheibstock arbeiten wie die väterlichen Hände, die das Kind nur auffangen wenn es fällt ihm aber ermöglichen eigen Schritte zu machen. Die Erfindung liegt in der Funktion der Räder. Wenn das Kleinkind den Babywalker belastet (fällt oder sich setzt) bleibt dieser stehen, nur wenn das Kind wirklich selbst geht, drehen sich die Räder.
Da der Erfinder neben seinem Beruf und seiner Aufgabe als Familienvater nicht die Zeit aufbringen konnte, sich um die Verwertung seiner Idee zu kümmern, hat er sich im Internet auf die Suche nach Hilfe gemacht und diese in Herrn Gerhard Muthenthaler von www.erfinder.at gefunden. Nach Recherchen, Patentanmeldung und Verwertungskonzept stehen Der Erfinder und Das Team von erfinder.at jetzt in der Phase der Lizenzvergabe. Muthenthaler: „Da die Modifikationen in der Produktion verglichen mit den herkömmlichen Lauflernhilfen wirklich gering sind, hoffen wir darauf, noch 2006 die ersten sicheren Babywalker in den Geschäften zu sehen. Wir werden bis dahin gerne jede Anfrage an
aufnehmen und verantwortungsbewusster Eltern über den Produktstart informieren.“












